incubator-hugegraph
incubator-hugegraph copied to clipboard
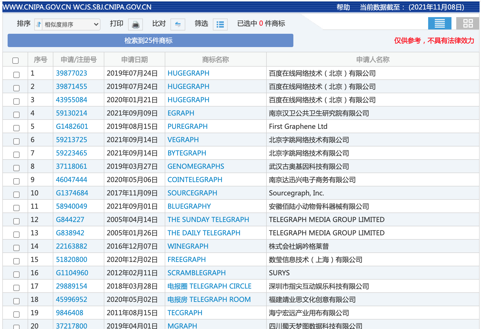
[Apache] check hugegraph name
Feature Description (功能描述)
check site: http://wcjs.sbj.cnipa.gov.cn/txnS01.do?locale=zh_CN&NPxosaad=qAkjqaccGLtcGLtcGGsa6drwif.dZIb9CWZ4SxCUccAqqhYWYANeqAqqGG


We need to check the trackmark of US and Europ as while. Google hugegraph could help us at the same time.
Google "hugegraph" results(no other products with the same name):

check trackmark of US from https://trademark-search.marcaria.com/en/Result?trademark=hugegraph&country=US&status=1&mode=3&searchby=1

check trackmark of Europe from https://trademark-search.marcaria.com/en/Result?trademark=hugegraph&country=GB&status=1&mode=1&searchby=1

Due to the lack of activity, the current issue is marked as stale and will be closed after 20 days, any update will remove the stale label